|
Omvormer voor DIN-rails serie PCE-LCTB45
omvormer voor DIN-rails tot 400 A / uitgang 1A of 5A / voor DIN-rails /
voor gebruik met transducer of vermogensanalyser
|
|
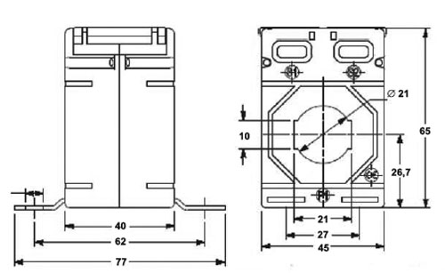
De omvormer voor DIN-rails serie PCE-LCTB45 is geschikt voor de indirecte stroommeting in DIN-rails. De omvormer kan op rails van max. 10 x 27 mm gemonteerd worden.
Dankzij de universele opening kan de omvormer ook op elektrische
kabels met een diameter van max. 21 mm. gemonteerd worden. De omvormer voor DIN-rails meet stroom tot 600 A. De constante conversie ratio’s staan, afhankelijk van het model, een uitgang van 1 A of 5 A toe.
Mocht u vragen hebben over de omvormer, dan kunt u contact met ons op via het telefoonnummer +31
(0)900 120 00 03. Onze technische medewerkers en ingenieurs geven u graag meer advies over deze
omvormer en al onze andere producten op het gebied van meettechniek,
weegtechniek en regeltechniek.
|
|
|
|

|
|
De
belangrijkste voordelen van de omvormer zijn:
|
|
- Omvormer voor DIN-rails tot 400 A
- Uitgang 1 A of 5 A
- Montage op rails en kabels
|
- Verschillende meetbereik
- Laag energieverbruik
- Kleine afmetingen
|
|
Technische specificaties van de
omvormer |
|
Primaire wikkeling (max. ingang)
|
50 ... 400 A
|
|
Secundaire wikkeling (uitgang) |
1 A / 5 A |
|
Maximum spanning |
720 V |
|
Maximum afmeting rail |
20 x 27 mm |
|
Maximum diameter van de kabel |
21 mm |
|
Diepte |
45 mm |
|
Breedte |
40 mm |
|
Omgevingstemperatuur |
-20 ... +45 °C |
|

|
Inhoud van de zending van de
omvormer
1 x omvormer voor DIN-rails serie
PCE-LCTB45 en 1 x gebruiksaanwijzing |
 |
 |
| Hier vindt u het complete overzicht van alle
meetinstrumenten in het programma van PCE Benelux |
Contact
PCE Benelux
Institutenweg 15
7521 PH Enschede
Tel. +31 (0)900 120 00 03
Fax +31 (0)53 430 36 46 |
|
Deze site in het Duits
,
Spaans ,
Italiaans ,
Engels ,
Russisch ,
Kroatisch ,
Frans ,
Hongaars ,
Turks ,
Tsjechisch ,
Bulgaars , Pools ,
Portugees ,
Chinees
|